9.2 -
1
2
3
4
5
6
7
8
9
10
11
12
13
14
15
16
17
18
19
20
21
22
23
24
25
26
27
28
29
 Catalogo ricambi
 Importante
I riferimenti in grassetto all'interno di questo capitolo indicano che i particolari richiamati non sono presenti nelle immagini, ma devono essere ricercati nella presente tavola esplosa.
Apertura semicarter
 
Utilizzando un paio di cacciaviti rimuovere l'anello elastico di fermo (1) dall'albero rinvio distribuzione (2), sul semicarter lato frizione.
 Note
Fare attenzione a non rigare la superficie dell'albero durante l'operazione di estrazione dell'anello elastico.
Svitare le viti di unione (22), (25) e (26) dei semicarter lato alternatore.
Svitare le due viti (22), sul semicarter lato frizione, in corrispondenza della sede del cilindro verticale.
Riutilizzare il coperchio alternatore, o un coperchio di servizio, con l'estrattore 88713.1749 montato. Fissarlo con alcune viti originali al semicarter e, azionando il perno centrale dell'attrezzo, iniziare la separazione.
Battere con martello in plastica, sull'albero secondario del cambio fino ad ottenere la separazione dei semicarter.
 Note
Fare molta attenzione alle rondelle di rasamento che si trovano sugli alberi e sul tamburo selettore.
Rimuovere gli alberi cambio e il tamburo selezione marce dai semicarter (Sez. 9 - 7.2, Smontaggio gruppo cambio).
Sfilare l'albero motore (C) utilizzando un martello in plastica e prestando attenzione alle rondelle di rasamento (D).
Rimuovere l'albero rinvio distribuzione (2).
Recuperare la guarnizione OR (5) nel canale di comunicazione olio tra i semicarter.
Revisione semicarter
Procedere ad un accurato controllo visivo dei semicarter motore.
Controllare, su piano di riscontro, che le superfici dei semicarter siano perfettamente piane. Controllare che i cuscinetti (4) e (23) siano in ottimo stato. Se necessitano di sostituzione i cuscinetti di banco devono essere sostituiti in coppia (vedi procedura al paragrafo seguente “Revisione cuscinetti di banco”).
 Note
È buona norma quando si revisiona un motore, sostituire tutti i cuscinetti dei semicarter.
 
Sostituire i cuscinetti (10) e (15) di estremità dell'albero secondario cambio e i cuscinetti (7) e (21) di supporto dell'albero rinvio distribuzione.
Quando si sostituiscono i cuscinetti (14) e (12) di supporto dell'albero primario cambio bloccarli sul semicarter con i distanziali (17) e la piastrina di fermo (9) fissati rispettivamente dalle viti (18) e (8).
Ad ogni revisione è consigliabile sostituire anche l'anello di tenuta (13) posto tra cuscinetto (12) e semicarter lato catena: lubrificare l'anello (13) con alcool denaturato, introdurlo fino a battuta nel semicarter, orientandolo come indicato.
Ad ogni revisione è consigliabile sostituire anche l'anello di tenuta (11) all'esterno del cuscinetto (10) e l'anello di tenuta (20) all'esterno del cuscinetto (21).
In caso di sostituzione dei cuscinetti a rullini (27) e degli anelli di tenuta (28) sul perno forcellone, lubrificare le sedi dei cuscinetti e degli anelli con grasso prescritto.
Installare l'anello di tenuta (28) interno come indicato in figura (E) e in appoggio sull'anello elastico (29); anche quello esterno deve essere installato come indicato in figura (E).
Utilizzare per l'installazione degli anelli di tenuta (28) e dei cuscinetti a rulli (27) un tampone adatto, del tipo raffigurato.
Controllare che i condotti di lubrificazione non presentino strozzature od ostruzioni.
I cuscinetti (27) sono da montare con le scritte (F) rivolte come in figura.
Verificare le condizioni, delle boccole (19) di centraggio. In caso di evidenti deformazioni o gioco di accoppiamento eccessivo con gli alloggiamenti, procedere alla rimozione utilizzando attrezzi adatti.
Se l'operazione di rimozione dagli alloggiamenti sul carter delle boccole (19) di centraggio risulta difficoltosa è consigliabile utilizzare un maschio sinistro con il quale forzare in uscita le boccole.
 Importante
Sostituire sempre le boccole (19) rimosse con questa procedura.
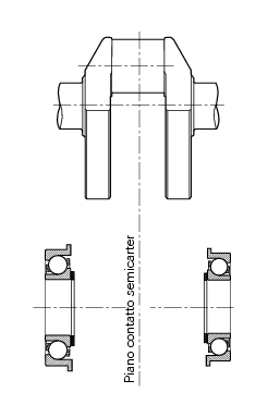
Revisione cuscinetti di banco
Hanno piste sfalsate l'una rispetto all'altra; i carichi vengono trasmessi, tramite le sfere, da una gola all'altra lungo rette che formano un certo angolo con l'asse del cuscinetto. I cuscinetti obliqui a sfere sono adatti per reggere carichi combinati (radio‑assiali).
Questo tipo di cuscinetto può reggere carichi assiali diretti in un solo senso. Infatti sotto l'effetto di un carico radiale, si genera nel cuscinetto una forza assiale che deve venir equilibrata da un'altra diretta in senso opposto: perciò esso viene montato generalmente in opposizione con un altro.
Per sostituire i cuscinetti è necessario:
-
-
-
installare il nuovo cuscinetto (mentre il carter è ancora ad elevata temperatura) perfettamente in quadro con l'asse dell'alloggiamento, utilizzando un tampone tubolare che eserciti la pressione solo sull'anello esterno del cuscinetto;
-
 Importante
In caso di motori particolarmente usurati, può accadere che gli anelli esterni del cuscinetto non presentino più la corretta interferenza di montaggio con i semicarter.
 
Verificare che l'interferenza tra carter e cuscinetti (4) e (23) montati, non sia inferiore a 0,03 mm, in caso contrario, sostituire i semicarter.
 Importante
Dopo aver installato i cuscinetti di banco nuovi, procedere alla spessorazione dell'albero motore come descritto nei paragrafi Spessorazione alberi” e “Chiusura semicarter” di questa sezione.
Rimontaggio semicarter
I semicarter devono risultare integri e perfettamente puliti. Le superfici di accoppiamento devono risultare perfettamente piane ed esenti da bave.
Rimontaggio semicarter lato frizione
Sul lato interno del semicarter devono essere presenti:
-
il cuscinetto (15) di estremità dell'albero secondario: applicare grasso sui rullini del cuscinetto. Inserire nel cuscinetto, fino a battuta, l'anello interno (A) precedentemente rimosso dal cuscinetto stesso. Applicare grasso sull'anello interno;
-
-
Rimontaggio semicarter lato alternatore
Sul lato interno del semicarter devono essere presenti:
-
Applicare frenafiletti sulle viti (8). Montare la piastrina di fermo (9) sul cuscinetto albero secondario cambio (10) impuntando le viti (8) fino a battuta sul semicarter lato catena.
 Note
La piastrina di fermo cuscinetto deve essere orientata con la svasatura dei fori rivolta verso l'alto.
 
Serrare le viti (8) alla coppia di 10 Nm (Min. 9 Nm - Max. 11 Nm) (Sez. 3 - 3, Coppie di serraggio motore).
Il cuscinetto (12) di estremità dell'albero primario cambio con distanziale interno (13): applicare grasso sui rullini del cuscinetto.
Inserire nel cuscinetto, fino a battuta, l'anello interno (B) precedentemente rimosso dal cuscinetto stesso. Applicare grasso sull'anello interno.
Il cuscinetto di banco (4).
Il cuscinetto a sfere (7) con seeger di arresto (6), in corrispondenza dell'albero rinvio distribuzione, orientandolo, in modo che il lato chiuso della gabbia in materiale plastico sia rivolto verso il semicarter.
 Note
Tutti i cuscinetti, esclusi quelli di banco, non hanno un lato di montaggio: è buona norma montare i cuscinetti in modo che il lato con le “scritte” sia rivolto verso l'alto.
Spessorazione alberi
Prima di procedere con la chiusura dei semicarter è necessario eseguire il calcolo dei rasamenti che determinano il gioco assiale dell'albero motore e degli alberi gruppo cambio.
Eseguire il calcolo dei rasamenti seguendo le procedure a seguito descritte.
Spessorazione albero motore
Dopo aver installato i cuscinetti di banco nuovi procedere nel modo seguente per determinare la quota “SA” totale delle spessorazioni:
misurare la quota “LA” tra le superfici di appoggio dei cuscinetti sull'albero motore;
misurare le profondità “LA1” e “LA2” corrispondenti alla distanza tra piano di contatto tra i semicarter e superficie di appoggio della pista interna dei cuscinetti;
aggiungere un precarico di 0,30 mm, per permettere ai cuscinetti tipo assiale albero motore di assestarsi correttamente nella loro sede, quindi anello interno che inserisce nell'anello esterno.
Otterremo cosí:
SA=LA1+LA2+0,30-LA.
Per calcolare l'entità di una singola spessorazione è necessario sapere che:
SA=SA1+SA2
dove “SA1” e “SA2” rappresentano le spessorazioni relative ai semicarter lato frizione 1 e lato catena 2.
Considerando l'allineamento dell'albero otterremo:
SA1=LA1+0,15-LA/2;
ed infine la seconda spessorazione: SA2=SA-SA1.
Metodo pratico per determinare gli spessori albero motore
Oltre a quanto riportato, illustriamo anche una pratica procedura che permette di determinare correttamente lo spessore dei rasamenti da montare sull'albero motore.
Inserire su ogni lato dell'albero motore un rasamento (A) di spessore minimo (1,90 mm) per evitare il contatto della mannaia dell'albero con il basamento.
Installare l'albero motore nel semicarter e chiudere il basamento.
Montare quattro viti M8 nelle sedi indicate in figura e bloccarle alla coppia di avvicinamento di 19 Nm (Min. 17 Nm - Max. 21 Nm) (Sez. 3 - 3, Coppie di serraggio motore).
Posizionare un comparatore (B) con la base magnetica utilizzando una piastra di appoggio fissata al carter motore.
Sistemare il tastatore in appoggio sull'estremità dell'albero motore e azzerare il comparatore in questa posizione.
Inserire una leva (C) tra carter e mannaia dell'albero motore e spingere quest'ultimo verso lo strumento.
Leggere sul comparatore il gioco totale presente e aggiungere il valore del precarico (0,30 mm) e quello degli spessori utilizzati (1,90x2=3,8 mm).
Dividere per due la quota calcolata e si otterrà il valore della spessorazione da posizionare su ogni lato dell'albero motore.
 Note
Dopo la chiusura dei semicarter l'albero motore deve poter ruotare con interferenza nei cuscinetti nuovi.
Spessorazione alberi cambio
A ricambio vengono forniti i seguenti spessori.
 
Spessorazione tamburo cambio
A ricambio vengono forniti i seguenti spessori.
 
Chiusura semicarter
Se rimosso, applicare frenafiletti prescritto al grano (24) e serrarlo alla coppia di 15 Nm (Min. 13 Nm - Max. 17 Nm) (Sez. 3 - 3, Coppie di serraggio motore).
Installare l'albero rinvio distribuzione (2) nel cuscinetto a rulli (21) sul semicarter lato frizione.
Per non danneggiare l'anello di tenuta (20) in corrispondenza dell'albero rinvio distribuzione, è consigliabile proteggere l'estremità filettata dell'albero con l'apposito cappuccio di protezione cod. 88700.5749. Inumidire l'anello di tenuta (20) con alcool ed installarlo sull'albero rinvio distribuzione portandolo in battuta sul cuscinetto a rulli (21).
Montare l'anello elastico di fermo (1) nella sede sull'albero e rimuovere il cappuccio di protezione.
 
 Note
In caso di rimontaggio di particolari usati, prima di inserire il gruppo cambio nel semicarter assicurarsi che le piste interne (A) dei cuscinetti di estremità degli alberi del cambio risultino installati nel relativo cuscinetto e non siano rimasti montati sul rispettivo albero.
Accoppiare gli alberi cambio e procedere al montaggio sul semicarter lato frizione, interponendo i rasamenti calcolati.
Inserire le forcelle 1ª- 4ª e 2ª- 3ª velocità (B) nei rispettivi canali di scorrimento degli ingranaggi condotti dell'albero secondario.
 Note
Le due forcelle sono uguali.
Inserire la forcella 5ª- 6ª velocità (C) nell'ingranaggio condotto dell'albero primario.
Installare nel semicarter il tamburo comando forcella (D) con i rasamenti calcolati.
Installare nelle forcelle precedentemente montate i perni (E).
Installare l'albero motore provvisto dei rasamenti calcolati nel cuscinetto del semicarter lato frizione, posizionando le bielle (E) in corrispondenza delle rispettive sedi dei cilindri.
Verificare che siano installate le due boccole di centraggio (19).
Dopo averlo opportunamente ingrassato per mantenerlo in sede, posizionare l'anello OR (5) in corrispondenza del canale di comunicazione olio, tra i due semicarter.
 Importante
Accertarsi che le bielle (E) siano correttamente posizionate nelle rispettive sedi dei cilindri. Un posizionamento errato porterebbe inevitabilmente alla riapertura dei semicarter.
Applicare il cordone uniforme e continuo di guarnizione liquida DUCATI sulla superficie di accoppiamento dei semicarter, contornando tutti i fori, come mostrato in figura.
Accoppiare i semicarter (3) e (16) eventualmente battendo con martello in gomma in prossimità degli alberi.
Preparare le viti di fissaggio, ed impuntarle sul semicarter lato alternatore (3), facendo attenzione alle differenti lunghezze.
 
Avvitare fino in battuta in modo progressivo le viti di unione, partendo da quelle di diametro maggiore (M8).
Installare due viti M8 (22), sul semicarter lato frizione (16).
Serrare tutte le viti alla coppia di seguito indicata (Sez. 3 - 3, Coppie di serraggio motore):
-
-
Controllare che l'albero motore ruoti con una certa interferenza sui cuscinetti di banco (l'albero motore deve avere un precarico di 0,15÷0,20 mm) e che tutti gli organi montati ruotino o si spostino correttamente.
Procedere al montaggio dell'anello di tenuta (11) sull'albero secondario cambio con l'apposito tampone (T).